Skip to main content
Renesas Electronics Corporation

Features

  • Ultra-low jitter performance: Achieve exceptional precision with jitter performance as low as 50fs at 312.5MHz within a wide 12kHz to 20MHz integration range in jitter attenuator mode
  • Versatile power supply options: Operate the device with ease using a single 1.8V power supply while ensuring compatibility with a 3.3V level interface at SCL/SDA pin if the VDDD33_SERIAL is 3.3V
  • DCO mode support: Leverage the benefits of the DCO mode for added flexibility and efficiency
  • Configurable startup options: Load configurations at startup effortlessly with the support of an external EEPROM, streamlining your setup process
  • Flexible communication interfaces: Choose between SPI or I2C communication protocols for seamless device integration
  • Multiple OTP configurations: Benefit from up to four OTP configurations for startup

Description

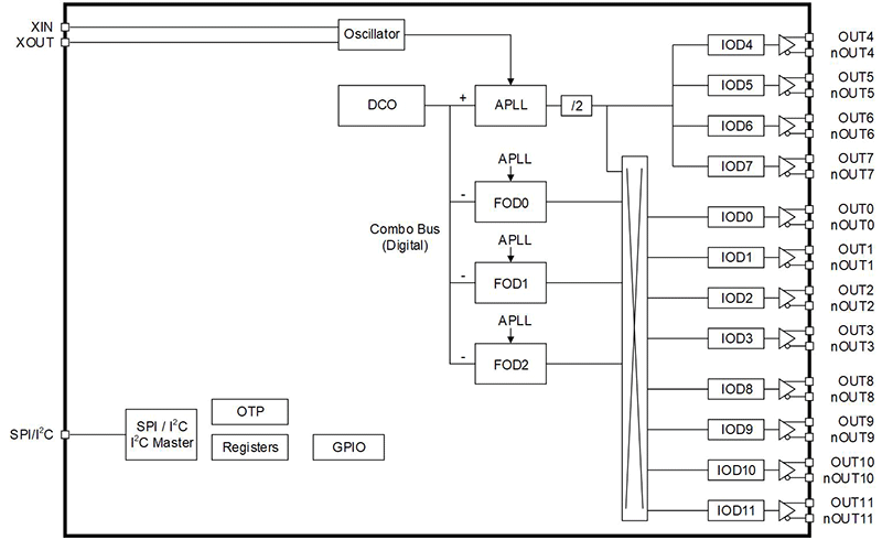
The RC223xxA (RC22308A and RC22312A) is a high-performance, small form factor, low-power clock generator, belonging to Renesas' high-performance FemtoClock™ 3 family. It supports ultra-low jitter clocks for 100G/200G/400G/800G SerDes data center equipment reference clock applications. It also comes with three Fractional Output Dividers (FOD), and it can support up to four frequency domains.

This device is factory-configurable.
Try the Custom Part Configuration Utility.

Parameters

AttributesValue
Diff. Outputs8, 12
App Jitter Compliance112G SerDes Jitter, PCIe Gen 6
Outputs (#)8, 12
Output TypeHCSL, LVDS, LVCMOS
Output Freq Range (MHz)0.001 - 1000
Input Freq (MHz)0.001 - 1000
Inputs (#)4
Input TypeCrystal, LVPECL, HCSL, LVDS, CML, LVCMOS
Output Banks (#)8, 12
Core Voltage (V)1.8V, 3.3V
Output Voltage (V)1.8
Product CategoryFemtoClock 3, Ultra-Low Jitter Clocks (<300 fs RMS), Extreme Performance Clocks (<150 fs RMS), Network Synchronization, PDH and SONET/SDH Clocks, Programmable Clocks
105°C Max. Case Temp.0
Selection Criteria<150 fs RM

Package Options

Pkg. TypePkg. Dimensions (mm)Lead Count (#)Pitch (mm)
VFQFPN7.0 x 7.0 x 0.9480.5
VFQFPN9.0 x 9.0 x 0.9640.5

Applications

  • Clock synthesis for 56G/112G pulse amplitude modulation (PAM4) SerDes
  • Clock synthesis for 100/200/400/800/1600 Gbps Ethernet PHY
  • Data center Top of Rack (ToR) and leaf switch
  • Ethernet switches and routers
  • Medical image system
  • Test and measurement
This device is factory-configurable.
Try the Custom Part Configuration Utility.

Applied Filters: