Skip to main content
32K x 36 SuperSync II FIFO, 3.3V

Package Information

CAD Model:View CAD Model
Pkg. Type:PBGA
Pkg. Code:BB144
Lead Count (#):144
Pkg. Dimensions (mm):13.0 x 13.0 x 1.76
Pitch (mm):1

Environmental & Export Classifications

Pb (Lead) FreeNo
Moisture Sensitivity Level (MSL)3
ECCN (US)
HTS (US)

Product Attributes

Lead Count (#)144
Pb (Lead) FreeNo
Carrier TypeTray
ArchitectureUni-directional
Bus Width (bits)36
Core Voltage (V)3.3
Density (Kb)1024
Family NameSuperSync II
FunctionBus Matching, JTAG
I/O Frequency (MHz)133 - 133
I/O Type3.3 V LVTTL
InterfaceSynchronous
Length (mm)13
MOQ50
Moisture Sensitivity Level (MSL)3
Organization32K x 36
Package Area (mm²)169
Pb Free Categorye0
Pitch (mm)1
Pkg. Dimensions (mm)13.0 x 13.0 x 1.76
Pkg. TypePBGA
PublishedNo
Qty. per Carrier (#)160
Qty. per Reel (#)0
Requires Terms and ConditionsDoes not require acceptance of Terms and Conditions
Tape & ReelNo
Temp. Range (°C)0 to 70°C
Thickness (mm)1.76
Width (mm)13

Description

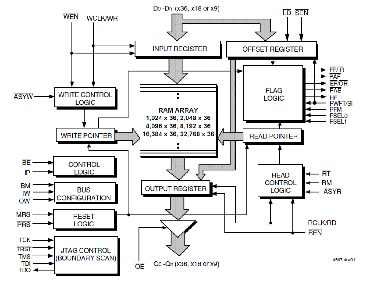
The 72V3690 32K x 36 SuperSync II FIFO memory with clocked read and write controls offers flexible Bus-Matching x36/x18/x9 data flow and Asynchronous/Synchronous translation on the read or write ports ; SuperSync II FIFO's are appropriate for network, video, telecommunications, data communications and other applications that need to buffer large amounts of data and match busses of unequal sizes.