Skip to main content
Renesas Electronics Corporation

Synchronous FIFOs

Renesas synchronous FIFO products feature clocked read/write controls, along with two fixed flags (empty, full) and two programmable flags (almost-empty, almost-full). Our synchronous FIFO solutions are ideal for applications that require high-volume data buffering, such as networking, video, telecommunications, local area networks (LANs), and data communications. These devices support depth expansion through a daisy-chain configuration.

About Synchronous FIFO

About Synchronous FIFO

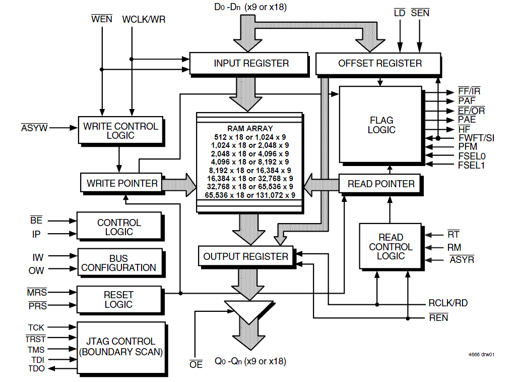
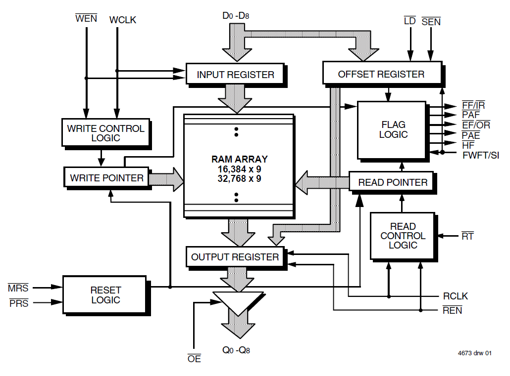
Synchronous FIFOs buffer and queue data, ensuring the first byte at the input is the first released at the output. FIFOs are typically implemented as circular queues with both read and write pointers. Unlike asynchronous FIFOs that use asynchronous signals, synchronous FIFOs rely on clocks to synchronize CPUs with other hardware, enabling efficient, sequential data flow in diverse applications.

Key FIFO Parameters

Key FIFO Parameters

  • Density: Number of bits the synchronous FIFO can store in its register. Renesas offers sizes up to 18Mb.
  • Bus Width: Number of "lanes" used for reading and writing to the device. We offer all popular configurations.
  • Core Voltage: Supply voltage that powers the device is typically determined by the system’s available power rails.
  • I/O Voltage: Voltage used for data input and output is separate from the core voltage for some devices.
  • I/O Frequency: Supported clock signal frequencies. Our synchronous FIFOs support frequencies up to 225MHz.

Support

Browse Articles

Knowledge Base

Browse our knowledge base for helpful articles, FAQs, and other useful resources.
Support Communities

Support Communities

Get quick technical support online from Renesas Engineering Community technical staff.