Improve Efficiency & Power Density
Renesas' high-performance synchronous rectifier controllers deliver greater efficiency by replacing the output rectifier diode with a more efficient synchronous rectifier controller. This topology enables smaller, cooler solutions that meet stringent efficiency requirements for power suppliers.
Low Energy Emission
Unique charging technology significantly reduces energy losses, improving efficiency and simplifying thermal management.
Green Power
Innovative low-power technology minimizes operating current with a zero-standby power feature for eco-friendly designs.
Flexible Design
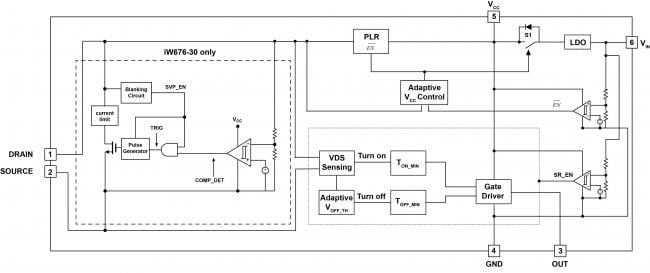
Comprehensive topology support—including QR, DCM, CCM, ZVS, and ACF—enables designs with both high-side and low-side configurations.
Applications
Power Adapters & Chargers
Renewable Energy & Grid
Appliances
Building Automation
Motor Drives & Robotics
Automotive
Resources
Brochure
Videos
Support
Knowledge Base
Browse our knowledge base for helpful articles, FAQs, and other useful resources.
Support Communities
Get quick technical support online from Renesas Engineering Community technical staff.

















