メインコンテンツに移動

特長

  • 商用温度範囲0℃~+70℃; ISL6186XXC もご参照ください
  • 動作範囲 2.5V~5V 
  • 45mΩのパワーPチャンネルMOSFETスイッチ内蔵
  • 1.5A、3A、3.6Aの連続電流オプション
  • 熱の影響を受けにくい、ターンオフ前12msの電流制限
  • ディセーブル時の逆電流遮断で出力放電
  • ラッチオフ、自動リスタート、イネーブル極性オプション
  • 1µAオフステート電源電流
  • 業界標準のピン・フォー・ピンSOIC、および小型のDFNパッケージが利用可能

説明

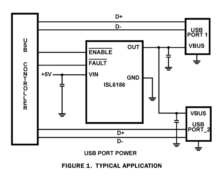
ISL6186 USBパワーコントローラ・ファミリーは1つまたは複数のUSBポートに過電流(OC)故障保護を提供します。この製品ファミリは8つの機能製品バリエーションと3つのパッケージ・オプションで構成され、商用および工業用の全温度範囲において公称+2.5V~+5Vの範囲で動作します。ISL6186の各タイプは電源制御用に45mΩのPチャンネルMOSFETパワースイッチを内蔵し、内部電流モニタリング、正確な電流制限、システム電源保護用ターンオフまでの電流制限遅延、制御・通信I/Oを備えています。ISL6186ファミリは1.5A、3A、3.6Aの連続出力電流レベル、イネーブル・アクティブ・ハイまたはローの製品バリエーションを提供します。6A、イネーブル・アクティブ・ハイまたはロー入力、過電流ターンオフ後のラッチオフまたは自動再試行など、多くの低消費電力アプリケーションに適したデバイスです。業界標準のSOICパッケージと、70%小型の3x3 DFNパッケージで提供され、最小のパッケージ(10 Ld DFN)で同じ性能と追加のPower-Good出力機能を実現しています。

パラメータ

属性
Outputs (#)1
Internal / External FETInt
VBIAS (Min) (V)2.5
VBIAS (Max) (V)5.5
Controlled Voltages (V)2.5 - 2.5
Regulation or Latch-Off for OvercurrentCurrent Regulation (1.5A, 3A, 3.6A)
Adjustable Gate RampNo
Advanced Fault ProtectionNo
RDS (ON) (Ohms)0.045
ReportingFAULT-bar for OC, Unique in class PGOOD Output
System Management: System Resets, Power Indicators, Fault DetectionNo
UV/OV FeatureUV Lockout
Bias Voltage Range (V)2.5 - 5.5
Qualification LevelStandard

パッケージオプション

Pkg. TypePkg. Dimensions (mm)Lead Count (#)Pitch (mm)
SOICN4.9 x 3.9 x 0.0081.3

アプリケーション・ブロック図

HMI system block diagram featuring high-performance RZ MPU with different display options and Wi-Fi, Bluetooth LE, and NFC connectivity.
高性能ヒューマンマシンインタフェース(HMI)システム
幅広いヒューマンマシンインタフェース機能を駆動するための汎用性の高いシステムオンモジュール(SoM)。
Multi-Display HMI SoM Block Diagram
マルチディスプレイHMI SoM
消費電力とタイミングを最適化したSOMは、マルチディスプレイの組み込みアプリケーションをサポートします。
Industrial Barcode Scanner Block Diagram
産業用バーコードスキャナ
AIを統合した産業用アプリケーション向けの高速産業用バーコードスキャナのアイデア。

その他アプリケーション

  • USB 30を含むUSBポートの電源管理
  • 低電力電子回路リミッターとブレーカー

適用されたフィルター