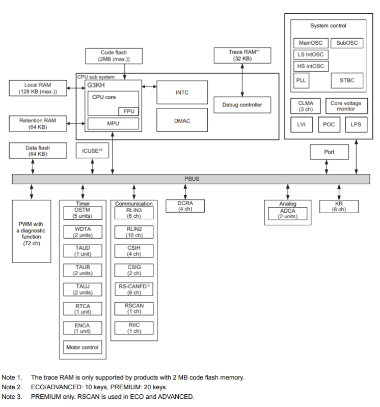
Features
- 32-bit single-chip microcontroller with G3KH CPU core
- High computational processing power
- 120MHz operating frequency
- Internal flash memory from 768KB to 2MB
- Wide variety of internal peripheral functions
- CAN FD interface (premium products only)
- Low power consumption
- Low Power Sampler (LPS) polls signal inputs without CPU core interaction
- DeepSTOP mode disables power to select circuits within the chip
- Package options from 100 to 176 pins
Description
The RH850/F1K is one group of single-chip microcontrollers in the RH850/F1x series which is designed for automotive electrical body applications. While it achieves low power consumption, the internal flash memory ranges from 768KB to 2MB and the package covers a wide range from 100 to 176 pins. Also, a CAN FD interface has been added and the CPU operating frequency operates at up to 120MHz. Design resources are available here to help you get your design to market as quickly as possible.
Parameters
| Attributes | Value |
|---|---|
| Main CPU | G3KH |
| Program Memory (KB) | 768, 1024, 1536, 2048 |
| RAM (KB) | 96, 128, 160, 192 |
| Supply Voltage (V) | 3 - 5.5 |
| I/O Ports | 81, 120, 150 |
| DRAM I/F | No |
| 3D GPU | No |
| Temp. Range (°C) | -40 to +105, -40 to +125 |
| Ethernet speed | No |
| Ethernet (ch) | 0 |
| EtherCat (ch) (#) | 0 |
| USB FS (host ch/device ch) | ( 0 / 0 ) |
| USB HS (host ch/device ch) | ( 0 / 0 ) |
| USB SS (host ch/device ch) | ( 0 / 0 ) |
| PCI Express (generation and ch) | No |
| SCI or UART (ch) | 0 |
| SPI (ch) | 5, 6 |
| I2C (#) | 1 |
| CAN (ch) | 6, 7 |
| CAN-FD (ch) | 0 |
| Wireless | No |
| SDHI (ch) | 0 |
| PWM Output (pin#) | 0 |
| 32-Bit Timer (ch) | 8 |
| 16-Bit Timer (ch) (#) | 32, 48 |
| 8-Bit Timer (ch) | 0 |
| Standby operable timer | No |
| Asynchronous General Purpose Timer / Interval Timer (ch) | 0 |
| 16-Bit A/D Converter (ch) | 0 |
| 14-Bit A/D Converter (ch) | 0 |
| 12-Bit A/D Converter (ch) | 36, 48, 60 |
| 10-Bit A/D Converter (ch) | 0 |
| 24-Bit Sigma-Delta A/D Converter (ch) | 0 |
| 16-Bit D/A Converter (ch) | 0 |
| 12-Bit D/A Converter (ch) | 0 |
| 10-Bit D/A Converter (ch) (#) | 0 |
| 8-Bit D/A Converter (ch) | 0 |
| Capacitive Touch Sensing Unit (ch) | 0 |
| Graphics LCD Controller | No |
| MIPI Interfaces (CSI) (ch) | 0 |
| Image Codec | No |
| Segment LCD Controller | No |
| Security & Encryption | Yes |
Applications
- Car Body
- Body control module (BCM)
- Automotive Gateway
- Automotive HVAC
- Automotive lighting modules
Applied Filters:
Filters
Some documents can be released under NDA.
- Security documentation - Please contact your local sales/FAE team to help with the NDA process and request access to the security documents for you. Alternatively, submit a support ticket.
- Functional Safety documentation - Request Documents
Filters
Software & Tools
Sample Code
Simulation Models
Take a glimpse of the Automotive Tech Days 2019. A great chance for customers to interact with Renesas product experts and discover available Digital and Analog solutions.
In this video, we will show you how to use a MCAL package
This video introduces the Smart Configurator for RH850 family.
RH850 Smart Configurator
00:00 Introduction of Smart Configurator for RH850 family
00:42 Support board usage
00:54 Visualize configuration
01:04 Checks conflicts
01:14 Generate source codes